在框架中定义孔位置
框架部件可能包含有关可钻孔位置的信息。
-
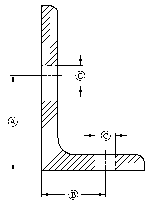
孔位置 (A, B) 是在框架横截面中定义的。
-
孔径 (C) 表示允许的最大孔尺寸。
-
在创建装配孔特征期间指定孔相对于框架的位置。添加到框架部件中的圆柱构造曲面可定义孔位置。


在框架中创建孔
通过在“装配”环境中添加装配孔特征可在框架中创建孔。使用每个框架成员中的圆柱构造曲面和草图关系在所需位置创建孔装配特征。可以使用“包含”命令包含构造曲面中的边,以帮助对齐装配孔特征。
如果孔位置构造曲面存在于横截面部件文件中,则在默认情况下,创建框架时框架成员中不会显示孔位置构造曲面。必须使用框架快捷菜单中的“孔位置→从横截面部件调入”命令使这些曲面进入框架中。
从框架中移除构造曲面
通过在快捷菜单中选择“显示/隐藏部件→曲面”命令可以隐藏构造曲面。
此外,还可以通过从快捷菜单中选择“孔位置→从框架中删除”命令从框架中删除构造曲面。如果需要,可使用“从横截面部件调入”命令恢复构造曲面。
© 2021 UDS